Methane pyrolisis
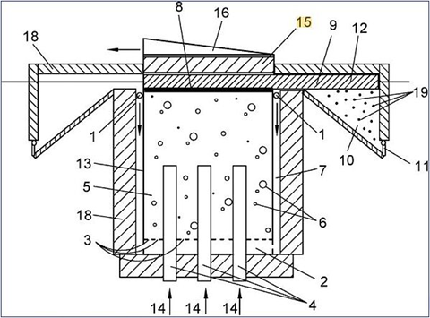
This project explores methane pyrolysis as a promising alternative to steam methane reforming (SMR) for hydrogen production. While SMR relies on methane reacting with water’s oxygen, releasing CO2, methane pyrolysis can produce CO2 free hydrogen by heating methane to extremely high temperatures in absence of oxygen, releasing just hydrogen and solid carbon, without the need of catalysts. Previous studies on methane pyrolysis have found significant challenges due to the accumulation of solid carbon, which often leads to clogging of reactor walls. This project aims to overcome this obstacle by using inert molten tin, which helps prevent these blockages. The main challenge is the requirement of ultra-high temperatures (above 1000 ºC).

Comunidad del Hidrógeno y Pilas de Combustible de la UPM

Grupo entre los proponentes de la la comunidad que se propone sobre “Hidrógeno y Pilas de Combustible” (CH2PC), pretende aglutinar investigadores, centros, institutos y grupos de investigación de la UPM relacionados con las tecnologías y con la cadena de valor del hidrógeno, desde la generación a partir de recursos hidrogenados, como el agua, hasta el uso, como es el caso de las pilas de combustible. Esta comunidad permitirá aumentar y visibilizar las capacidades de la UPM en ese campo, identificado como área estratégica en nuestra Universidad.
Entre los objetivos concretos se encuentran:
- Diseñar y poner en marcha un título propio de Máster en Hidrógeno y Pilas de Combustible (H2PC)
- Crear un Centro UPM de Hidrógeno y Pilas de Combustible en colaboración con socios industriales
- Crear un repositorio que recopile y mantenga actualizada la normativa existente sobre usos e instalaciones de hidrógeno en toda la cadena de valor del hidrógeno en la UPM.
- Fomentar la relación entre investigadores de la UPM en el campo de desarrollo del hidrógeno y pilas de combustible.
- Mejorar y ampliar infraestructuras en hidrógeno y pilas de combustible utilizadas por las estructuras de investigación de la Comunidad.
BrainEN
El Proyecto BrainEN englobal el desarrollo de varias tecnologías de generación y suministro de energía. El grupo participa en el desarrollo de un sistema de descomposición de gases renovables en hidrógeno y carbono mediante reactores de metal líquido.